幾年來說,中國的泵閥行業自改革開放的20多年來有很大進步和發�,這一點不僅僅是在產量產值,產能上體現出�,在品種規格還有綜合技術水平上都有直接的表現。行業各企業在現今應該抓住機�,調整產品節�,大力推進技術創�,為我們國家的工業建設建筑物建設等經濟建設科學技術發�,國防技術提升做出卓越的貢獻�
1.技術改造滯后,老廠�、老設�、老工藝仍占主�,雖然近幾年幾個企業搬遷而有了改觀,但整體的制造水�、工藝水�、檢測水平仍較落�,與國外同行企業無法相比。舊體制遺留下來的技術改造問�,恐難在短期內予以消�。設備的陳舊、導致工藝的落后和產品水平的低下,這在行業內的每個企業幾乎都存在。我國機械真空泵的整體技術并不落�,而由于工藝手段的落后導致性能低下。盡管一些廠家購置了先進的數控加工中心或專用的數控機床,但總量上仍顯不�,工藝的綜合能力仍趕不上國外同行。德國萊寶公司在天津的二期投入,無論從廠房設�、工作場�、制造能�、檢測手段無不反映了當今世界一流水�。而我們行業內的那一家企業又能與之相比呢?設備能力、工藝手段是企業最基本的競爭力所�,如果我們的企業尚停留在較原始的制造手�,企業的競爭力何�?企業的今后發展何在�
2.研發能力�,可以說沒有資金的投入或只有少量資金的投�。既使是所謂的新產品研發,也只是走邊接�,邊設計,邊生產的模�,在某種程度上造成了設備性能的不可靠和工藝的不成�,給客戶的使用帶來了隱患。國外的同行在研發上投入大量的資�,進行關鍵�、基礎件的研制,進行工藝的摸索和固化,形成了某一產品或某一領域的優勀待我們進行研發�,也只能跟在別人的后面跑,更談不上原創型,當快要成熟或市場上形成一定競爭力�,別人又有長期研發成功的產品推向市場,形成了競爭的良性循��
3.管理機制和模式不適應現代企業的需要。國有體制的由工廠換牌到所謂公司制建制�;家族式或進展到朋友之間的股份合作式;無不反映了做坊式陳舊的管理理�,反映了以人制代替法規制的陋�。機制性的弊端不可能促進企業的發展,現代企業三項制度的激勵模式不可能在企業中予以貫徹。即使現在已經進行了股份制改造的企業,或是已經獲得中國機械工業管理先進的企業,在管理上仍大大落后于西方發達國�。在日本真空行業的生產企業中,生產組織上的看板管理,產品質量上的PDCA管理,工作現場的潔凈管理等等,無不體現了現代企業的物質文明和精神文明,體現了以人為本的科學理念�
4.人才問題。這是我們真空設備行業乃至整個機械工業普遍存在的共性問�。高素質開拓型的技術人員,一技之長的能工巧匠,管理獨具的白領階�,都顯得匾乏和捉襟見�。技術人員、技術工人、管理人員是支撐企業生存的三根基�,缺一不可。而在我們的企業里三種人才普遍短缺,那么就軟化了企業生存的基�。就企業而言,市場的拓展靠產�,產品的開發靠人�,人才的開發靠環境(政策、待遇),在這個鏈條中,人是第一位的,有了人就有了產�,有了產品就有了市場。在發達國家的企業里,蘭白領員工的學歷水平正在逐年縮小,蘭領員工的素質普遍提高。在我國,大學本、專科畢業的學生中有多少人去開機�?雖然有的企業招人中明顯規定某某學歷為當工人崗而設,但落實到崗或在崗位上留下來長期奉獻的能有幾�?為了企業的發展與生存,真空設備行業在困難的狀況下仍以不薄的待遇在不斷地吸納大學畢業生,用以充實技術人員隊伍和企業的延�。然而在擴招以后的大學畢業生�,綜合素質普遍低下,多于待遇,少于奉�,多于口�,少于實踐的現象普遍存在。一臺電腦、一門外語就是他學業的全部。一個機械工科院校畢業的學生,連起碼的機械加工基礎知識都不�,這就反映了我們教書育人中存在的問�。在我們企業中,近幾年也來了許多大學生,但也走了一些人,留下來的人有的已成了骨干,走的人自認為在行業中練了幾年把式,但社會的認可度如何?大家自有公�。真正在大學學真空專業畢業后從事產品研發�,充其量不足25%,這就給真空設備行業基礎人才的積累帶來了隱患。大家都去做流�,大家都去做代理,研發這種艱難的工作誰去干?技術的提升靠人�,靠人才的綜合素�,靠高素質的技術團隊去實現。目前仍奮斗在真空產業研發崗位上的技術人�,是真空設備行業發展的希�,是中國民族工業發展的希�。我們這個隊伍雖目前仍顯得單�,但經過大浪淘沙,留下來的都是金�。隨著時間的推移,人才的問題將會有好的轉��
永嘉縣泉達泵閥制造有限公�
ISW�臥式管道離心�產品概述�
ISW�臥式管道離心�是永嘉泉達泵閥制造有限公司根�IS型離心泵與立式泵的獨特結構組合設�,并嚴格按照國際標準ISO2858和最新的國家管道離心�標準JB/T53058-93進行設計制造的高效節能產品。該泵采用國內先進水力模型優化設計而成。同時根據使用溫�、介質等不同在ISW型基礎上派生�熱水�、高溫泵、化工泵、油泵等,是目前國家標準定型推廣產品�
ISW�臥式管道離心�型號意義�

ISW�臥式管道離心�工作條件�
1� 吸入壓力≤1.0Mpa,或泵系統最高工作壓�≤1.6Mpa,即泵吸入口壓�+泵揚�≤ 1.6Mpa、泵靜壓試驗壓力�2.5Mpa,訂貨時請注明系統工作壓力。泵系統工作壓力大于 1.6Mpa時應在訂貨時另行提出。以便在制造時泵的過流部件和聯接部分采用鑄鋼材��
2� 環境溫度<40℃,相對濕度<95%�
3� 所輸送介質中固體顆粒體積含量不超過單位體積的0.1%,粒�<0.2mm.
注:如使用介質為帶有細小顆粒,請在訂貨時說明,以便采用耐磨式機械密��
ISW�臥式管道離心�產品用途:
1� ISW�臥式管道離心�,供輸送清水及物理化學性質類似于清水的其他液體之用,適用于工業和城市給排水,高層建筑增壓送水,園林灌�,消防增壓及設備配套,使用溫度T�≤80℃�
2�ISWR臥式熱水管道�廣泛適用于能�、冶�、化工、紡�、造紙、以及賓館飯店等鍋爐高溫熱水增壓循環輸送及城市采暖系統循環用泵,ISWR使用溫度T�≤120�、WRG使用溫度T�≤240��
3� ISWH型臥式化工泵,供輸送不含固體顆�,具有腐蝕�,粘度類似于水的液體,適用于石油、化�、冶�、電�、造紙、食�、制藥和合成纖維等部門,使用溫度T�-20�-120℃�
4� ISWB型臥式油�,供輸送汽�、柴�、煤油等石油產品,使用溫度T�-20�-120��
ISW�臥式管道離心�產品特點�
1、運行平穩:泵軸的絕對同心度葉輪優異的動靜平衡,保證平穩運行,絕無振��
2、滴水不漏:不同材質的硬質合金密�,保證了不同介質輸送均無泄��
3、噪音低:兩個低噪音軸承下的水泵,運轉平�,除電機微弱聲響,基本無噪聲�
4、故障率低:結構簡單合理,關鍵部分采用國際一流品質配�,整機無故障工作時間大大提高�
5、維修方便:更換密封、軸承、簡易方��
6、占地更省:出口可向�、向�、向上三個方向,便于管道布置安裝,節省空��
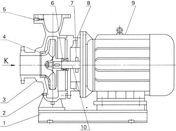
ISW�臥式管道離心�結構圖:
|

|
1
|
底座
|
|
2
|
放水�
|
|
3
|
泵體
|
|
4
|
葉輪
|
|
5
|
取壓�
|
|
6
|
機械密封
|
|
7
|
擋水�
|
|
8
|
端蓋
|
|
9
|
電機
|
|
10
|
�
|
結構見圖:該機組由泵、電機和底座三部分組�。泵結構包括泵體、葉�、泵�、機械密封等零部件組�。泵為單級單吸臥式離心式,泵體和泵蓋兩部份是從葉輪背面處剖分�,即為后開門結構形式。大多數泵的葉輪前、后均設有密封環,并在葉輪后蓋板上設有平衡孔,以平衡作用在轉子上的軸向力。泵進口為軸向水平吸入,出口為垂直向上布�。泵和電機同�,電機軸伸端采用雙角接觸球軸承結構可部分平衡泵的殘余軸向�。泵與電機直�,安裝時無需校正,具有共同底座,并用JG型隔振器進行隔振� |